MENU

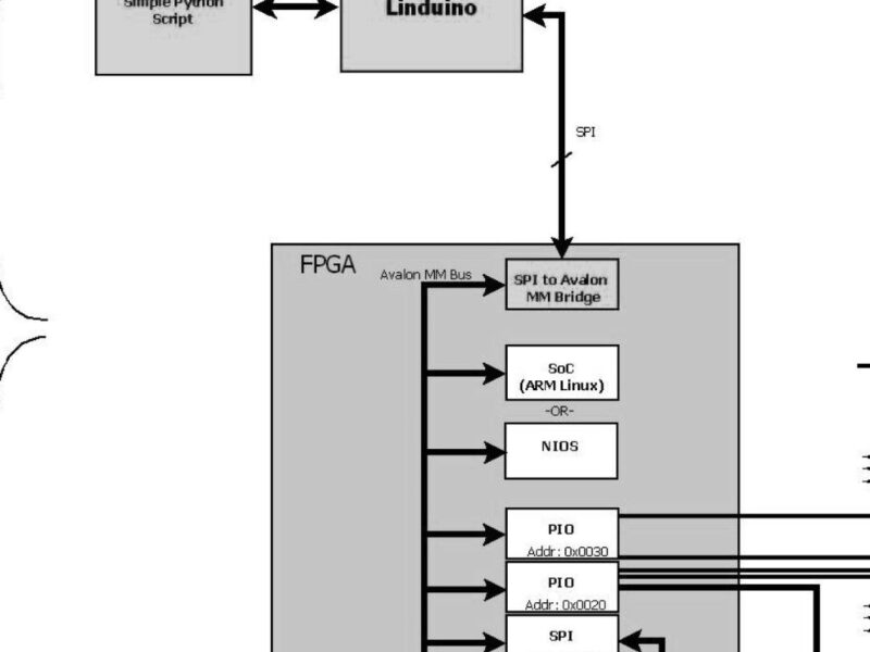
Montez à bord du bus Avalon : une interface de FPGA simplifiée

Montez à bord du bus Avalon : une interface de FPGA simplifiée

Par Linear Technology




Avertissement : en cliquant sur ce bouton, vous acceptez que vos données soient communiquées à cette société. Si vous ne souhaitez pas que nous communiquions vos données, veuillez mettre à jour vos coordonnées dans votre profil.

Si vous avez apprécié cet article, vous aimerez les suivants : ne les manquez pas en vous abonnant à :    ECI sur Google News

Partager:

White Papers
Voir tous les White Papers
10s